 |
|
| |
产品目录 |
|
|
|
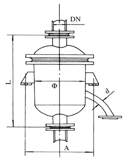
| (七)SSW型清水过滤器 |
| |
| 单位(mm) |
表1-22 |

DN:15-700 PN:0.6-2.5
|
|
DN
|
Φ
|
L
|
H
|
D
|
|
15
|
65
|
200
|
200
|
15
|
|
25
|
65
|
200
|
200
|
15
|
|
32
|
150
|
250
|
210
|
25
|
|
40
|
150
|
250
|
210
|
25
|
|
50
|
200
|
400
|
235
|
25
|
|
65
|
200
|
400
|
235
|
25
|
|
80
|
325
|
650
|
300
|
25
|
|
100
|
325
|
650
|
300
|
25
|
|
125
|
500
|
1000
|
500
|
50
|
|
150
|
500
|
1000
|
500
|
50
|
|
200
|
650
|
1250
|
575
|
85
|
|
250
|
850
|
1250
|
575
|
85
|
|
300
|
1000
|
1500
|
750
|
85
|
|
350
|
1000
|
1500
|
750
|
85
|
|
400
|
1200
|
2000
|
800
|
80
|
|
500
|
1500
|
2500
|
1200
|
80
|
|
600
|
1800
|
3000
|
1400
|
100
|
|
700
|
2000
|
3500
|
1500
|
100
|
|
|
| |
|