(一)SLYZ型过滤器
1、整体铸造螺纹连接式过滤器(SLYZI型)见图,表1(DN15-50,PN≤4.0MPa)
SLYZI型 表1-1 |
| |
|
公称直径
DN
|
结构尺寸(PN≤4.0MPa)
|
管塞N
|
|
D0
|
L
|
H
|
|
15
|
RC1/2"
|
120
|
160
|
ZG1/4"
|
|
20
|
RC3/4"
|
130
|
170
|
ZG1/4"
|
|
25
|
RC1"
|
140
|
175
|
ZG1/4"
|
|
32
|
RC1 1/4"
|
170
|
185
|
ZG1/4"
|
|
40
|
RC1 1/2"
|
190
|
195
|
ZG1/4"
|
|
50
|
RC2"
|
220
|
210
|
ZG3/8"
|
|
|
| |

SLYZ I SLYZ II |
|
2、整体铸造承插焊接连接式过滤器(SLYZII型)见图,表2(DN15-40,PN≤10.0MPa)
SLYZII型 表1-2 |
| |
|
公称直径DN
|
结构尺寸(PN≤10.0MPa)
|
管塞N
|
|
D0
|
L
|
H
|
|
15
|
21.8/18.5
|
120
|
170
|
ZG1/4"
|
|
20
|
27.4/25.5
|
130
|
180
|
ZG1/4"
|
|
25
|
34.2/32.5
|
140
|
185
|
ZG1/4"
|
|
32
|
42.9/38.5
|
170
|
210
|
ZG1/4"
|
|
40
|
48.8/48.5
|
190
|
220
|
ZG1/4"
|
|
|
3、整体铸造法兰连接式过滤器(SLYZIII型)见图,表3(DN40-250,PN≤2.5MPa)
SLYZIIT型 表1-3 |
| |
|
公称直径DN
|
结构尺寸
|
管塞N
|
|
L
|
H
|
|
32
|
240
|
160
|
ZG3/8"
|
|
40
|
250
|
160
|
ZG3/8"
|
|
50
|
270
|
190
|
ZG3/4"
|
|
65
|
290
|
200
|
ZG3/4"
|
|
80
|
360
|
250
|
ZG3/4"
|
|
100
|
410
|
280
|
ZG3/4"
|
|
150
|
515
|
360
|
ZG3/4"
|
|
200
|
660
|
450
|
M20×1.5
|
|
250
|
870
|
670
|
M20×1.5
|
|
|
| |

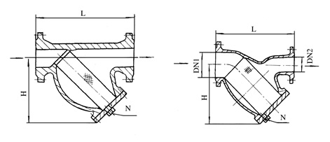
SLYZ II SLYZ IV |
|
4、整体铸造异径为焊连接式过滤器(SLYZIV型)见图,表4
(DN40×32-250×200,PN≤2.5MPa)
SLYZIV型 表1-4 |
| |
|
公称直径DN1×DN2
|
公称压力PN
|
结构尺寸
|
管塞N
|
|
L
|
H
|
|
40×32
|
≤2.5MPa
|
210
|
160
|
ZG3/8"
|
|
50×40
|
240
|
180
|
ZG3/4"
|
|
80×50
|
310
|
250
|
ZG3/4"
|
|
80×65
|
310
|
250
|
ZG3/4"
|
|
100×65
|
370
|
280
|
ZG3/4"
|
|
100×80
|
370
|
280
|
ZG3/4"
|
|
150×100
|
490
|
360
|
ZG3/4"
|
|
200×100
|
600
|
450
|
M20×1.5
|
|
200×150
|
600
|
450
|
M20×1.5
|
|
250×200
|
850
|
670
|
M20×1.5
|
|
|