 |
|
| |
产品目录 |
|
|
|
|
(五)SYJ移动式搅拌器
|
|
★结构、工作原理
SYJ可移动式搅拌机,电机通过一级齿轮减速,带动搅拌轴旋转,轴端装有桨叶也随之转动,与水平方向成一定夹角的桨叶在转动时,使其周围的液体产生轴向和周向的合成运动。
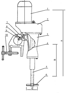
1、电机 2、减速器 3、支架 4、搅拌轴 5、桨木轴 6、桨叶
7、虎钳 8、双头螺栓 9、螺母 10、丝杆
★性能特点
1、使用独特的虎钳,可在开式槽上部边缘直接安装。
2、工作时,搅拌轴偏离槽的中央位置,而且与垂直方向倾斜一定角度。
3、搅拌轴与垂直方向倾斜夹角为5°-20°,因而根据鲁辛顿理论,在槽内即使不安装挡板也不会出现旋现象或局部死区,搅拌效率高。
4、小型轻便、结构简单。
★应用范围
1、食品工业--奶油、巧克力、牛奶、酱油、辣酱油、蛋黄酱、果汁、其它。
2、涂料工业--墨水、油漆。
3、化工工业--化妆品、乳液等。
4、染料工业--染料、氧化钛、粘胶。
5、药品工业--药品、农药、医药。
6、污水处理--生活废水、工业污水、硫酸铝等。
7、净水厂--自来水、工业用水。
8、酿造工业--绍兴酒(老酒)、威士忌酒、末过滤的酱油、啤酒。
9、石油工业--原油、汽油、柏油、沥青、甲醇、苯、甲苯。
10、其它。如用于溶解、混合、传热、分散、吸收、防止沉淀、反应、稀释、乳化、悬浮及结晶等领域。 |
|
|
|
|
技术参数表 表4-5
|
|
SYJ-500
|
SYJ-750
|
SYJ-750-Ⅰ
|
SYJ-550-Ⅱ
|
|
电机功率(KW)
|
0.55
|
0.75
|
0.72
|
0.75
|
|
搅拌转速(rpm)
|
398
|
346
|
151
|
110
|
|
外型尺寸(mm)A×B(最大值)×C
|
1860×1300×200
|
1900×1200×250
|
1937×1200×350
|
1937×1200×350
|
|
最大搅拌
容量
(立升)
|
10厘泊
|
13500
|
16500
|
16500
|
16500
|
|
100厘泊
|
5300
|
6500
|
6500
|
6500
|
|
2500厘泊
|
1500
|
1800
|
1800
|
1800
|
|
|
|