|
(十)SJS-H油水分离器
|
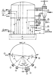
★工作原理
SJS-H型油水分离器分三个区,即为:分离区、进出水区、集泥区。主要有罐体、进、出水管,蒸汽管,出油管,集油槽,液位调节器等组成。当含油污水经特殊设计的分布器进入罐体上部均匀流信油水分离区后,利用油水比重差,使油、清水、污泥分别从各个排放区排出,从而达到油水分离和净化水质的目的。
★主要特点
设备装置化密封运行,安全高效,操作自动化,无气味泄露,无二次污染。与平流式隔油池相比,占地面积小,回收的油干净;收油、出水、排泥自动化,延长装置使用寿命;投资省,管理维护方便,能取代平流式隔油池,提高经济效益。进出水方式合理,进出水进罐内水流无冲击和不均匀现象,大提高了油水分离的效率和污泥沉降的平稳效果。设备具有使用周期长、不受天然严寒的影响、罐内油无冻结现象、操作连续化等优点。
★适用范围
用于油田及炼油厂含油污水处理和油田开采出水、含硫污水汽、原油电脱盐装置排水、废水生化、分离任何两种比重差在0.55以上、非互溶的溶液等工艺前的预处理。
★操作规程及注意事项
本设备正常工作时,油层厚度控制350mm左右,若油层厚度增加则自动排油。如需要减少油层厚度,应转动调节器手轮使内件升高。反之降低调节器内件,则油层增加。本设备最小最大油层厚度分别为0和00mm。正常工作时建议将调节器手轮放大中间位置减少面小波动对分离效果的影响。停工时应将手轮放在最高位使油层减少至最小,然后将水、污泥放干净。整个工作范围内液面、油水分离界面可通过压差式液位计和玻璃位计观察。然后根据贵厂实际调整。在处理被乳化的含油污水时,应先进破乳后进入该设备,再实行油水分离。在处理含油污水中油为重质油、沾油或原油时,操作温度应大于35℃。
★油水分离器技术参数 表5-35 |
|
|
100
|
200
|
250
|
300
|
|
处理物料
|
含油污水或油水混合物
|
|
进水含油
|
<10000-20000PPm
|
|
出水含油
|
<100-200PPm
|
|
油水比重差
|
>0.05
|
|
操作压力
|
常压
|
|
操作温度
|
0-80℃
|
|
停留时间
|
8-10h
|
|
进料方式
|
自流或水泵进入
|
|
排放方式
|
自动或手动
|
|
处理效果
|
≥95%
|
|
|
| ★产品主要连接尺寸 表5-34 |
★油水分离器接管尺寸 表5-36
|
代号
|
|
SJS-H
|
|
1
|
DN
|
100
|
200
|
250
|
300
|
1000
|
2000
|
|
2
|
DN
|
50
|
50
|
50
|
50
|
50
|
50
|
|
3
|
DN
|
65
|
80
|
80
|
80
|
100
|
100
|
|
4
|
DN
|
80
|
100
|
100
|
125
|
150
|
150
|
|
5
|
DN
|
80
|
100
|
100
|
125
|
150
|
150
|
|
6
|
DN
|
20
|
25
|
25
|
25
|
25
|
25
|
|
7
|
DN
|
80
|
100
|
100
|
125
|
80
|
80
|
|
8
|
DN
|
50
|
65
|
65
|
65
|
80
|
80
|
|
|
|
★油水分离器外形尺寸 表5-37
|
序号
|
|
Φ
|
Φ1
|
H1
|
H2
|
H3
|
H4
|
H5
|
H6
|
H7
|
H8
|
H9
|
B
|
有效容积(m3)
|
|
1
|
100
|
6.00
|
6.10
|
4.50
|
4.30
|
2.60
|
1.80
|
1.20
|
0.40
|
5.50
|
5.80
|
6.30
|
0.70
|
100
|
|
2
|
200
|
6.5
|
7.00
|
4.90
|
4.70
|
2.80
|
2.10
|
1.20
|
0.40
|
6.00
|
6.30
|
6.80
|
0.83
|
200
|
|
3
|
250
|
7.5
|
8.08
|
5.40
|
5.20
|
3.00
|
2.20
|
1.20
|
0.40
|
6.50
|
6.80
|
7.60
|
0.83
|
250
|
|
4
|
300
|
8
|
8.09
|
5.40
|
5.20
|
3.00
|
2.20
|
1.20
|
0.40
|
6.50
|
6.80
|
7.60
|
0.83
|
300
|
|
5
|
1000
|
12.5
|
12.6
|
10.0
|
9.8
|
6.0
|
4.0
|
1.20
|
0.45
|
10.6
|
12.3
|
14.5
|
1.20
|
1000
|
|
6
|
2000
|
14.5
|
14.6
|
11.7
|
11.5
|
7.7
|
5.7
|
1.20
|
0.60
|
12.3
|
14.3
|
14.5
|
1.20
|
2000
|
|
注:如用户需要其他型号的SJS-H型油水分离器,本公司可根据用户需求进行设计制造。
|
|
|