 |
|
| |
产品目录 |
|
|
|
|
SLAYⅡ全自动过滤器
|
|
|
技术特征
过滤面积是进口截面积3以上
公称压力:0.6、1.0、1.6、2.5MPa
最高工作温度:<100℃
过滤精度:100-1000μm
电机功率:0.37KW
电磁阀排放时间:15-20S
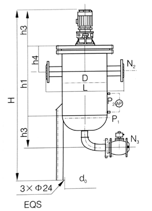
结构简图及尺寸
SLAYⅡ全自动过滤器 |
|
|
| |
公称直径Norminal Diameter |
安装尺寸 |
排污阀公称直径N3 |
D |
L |
H |
h1 |
h2 |
h3 |
h4 |
d0 |
50、65、80、100、
125、150、200 |
φ400 |
716 |
1660 |
640 |
240 |
580 |
230 |
φ378 |
40 |
φ500 |
816 |
1740 |
700 |
260 |
580 |
280 |
φ479 |
50 |
φ600 |
916 |
1830 |
760 |
290 |
580 |
300 |
φ579 |
50 |
|
| |
|
|
|